Máy Rà Van Larslap Model K AB 65/100 (0.5" - 6") (Valve Grinding Gate, Check, Safety, Control Valves & Gate Valve Wedges)

Mã hàng K AB 65/100
Danh mục Máy mài van Larslap
Thương hiệu LARSLAP BRAND
Nhà cung cấp LARSLAP
Xuất xứ Thụy Điển
File đính kèm kab65100-pdf.pdf
Chia sẻ
Liên hệ nhanh 028-7300 7797
sales@nhatduysgn.com

Máy mài van loại K:

Máy mài van loại K cho phép mài nhanh và hiệu quả các bề mặt phẳng, nhẵn đặc biệt những vị trí phức tạp nhất có thể.

Đầu mài có nhiều kích cỡ đường kính trong phạm vi 12-65/100mm (0.5 - 6 inch).

Máy mài van có thể mài ở mọi góc độ từ dọc sang ngang. Máy mài van dễ dàng thiết lập mài bằng hệ thống kẹp hiện có.

Hộp đựng sản phẩm được trang bị các ngăn được thiết kế đặc biệt đúc theo hình dạng của từng bộ phận máy, cho phép người vận hành biết chính xác rằng tất cả các bộ phận của máy được đặt đúng chỗ trước và sau khi mài.
Sản phẩm đạt hiệu năng tối ưu khi dùng kèm với hạt mài kim cương Kemet và dầu bôi trơn Kemet.

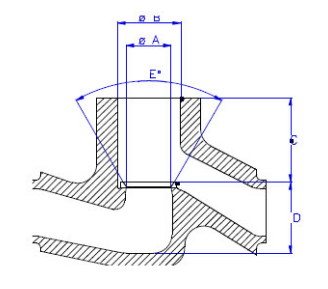
Bảng thông số kỹ thuật:

A Min = 8mm

A Max =  150mm

B Min =  18mm

B Max =  170mm

C Min =  80mm

C Max =  280mm

D Min =  20mm

E =   30° (2 x 15°)

E =   40° (2 x 20°)

E =   60° (2 x 30°)

E =   75° (2 x 37.5°)

E =   90° (2 x 45°)

 

Sản Phẩm Đã Xem